<tt id="mmm0m"></tt>
  • <tt id="mmm0m"><table id="mmm0m"></table></tt>
  • <tt id="mmm0m"><table id="mmm0m"></table></tt>
  • <tt id="mmm0m"><table id="mmm0m"></table></tt>
  • <li id="mmm0m"><table id="mmm0m"></table></li>
  • <tt id="mmm0m"><table id="mmm0m"></table></tt>
  • <li id="mmm0m"><tt id="mmm0m"></tt></li>
    <li id="mmm0m"><tt id="mmm0m"></tt></li>
  • 悅刻電子煙貨源網,悅刻一手貨源批發網站,提供微商正品relx貨源

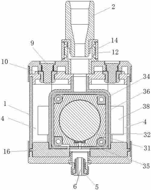
    電子煙霧化器裝配圖(電子煙霧化器排名)

    小編

    電子煙霧化器裝配圖示。

    電子煙霧化器裝配圖

    本發明涉及一種電子煙霧化器,包括殼體、設置在殼體內的電子元件,所述電子元件包括電子霧化器本體和設置在殼體內的電子霧化器的控制單元,所述控制單元通過無線通訊模塊與電子霧化器本體連接,所述控制單元還包括用于存儲電子霧化器的工作參數的存儲單元,所述控制單元還包括用于根據所述工作參數控制電子霧化器的工作狀態的控制單元。本發明的優點是結構簡單,成本低,可靠性高,適用范圍廣。同時,通過對電子霧化器的控制,可以實現對電子霧化器的遠程控制,方便用戶隨時掌握電子霧化器的工作狀態。

    另外,本發明還提供了一種電子霧化器,該電子霧化器包括。本發明的優點是結構簡單,成本低,易于制造,適用于家庭使用。

    同時,本發明還提供了一種電子霧化器的控制方法。圖1中,顯示了根據本發明的實施例的用于控制車輛的系統10。在該系統10中,通過使用電子控制單元(ecu)12來控制發動機12的操作,該ecu具有用于執行發動機12的控制程序的處理器14。在該處理器14中,存儲有用于控制發動機12的操作的程序代碼。

    。

    電子煙霧化器裝配圖

    <tt id="mmm0m"></tt>
  • <tt id="mmm0m"><table id="mmm0m"></table></tt>
  • <tt id="mmm0m"><table id="mmm0m"></table></tt>
  • <tt id="mmm0m"><table id="mmm0m"></table></tt>
  • <li id="mmm0m"><table id="mmm0m"></table></li>
  • <tt id="mmm0m"><table id="mmm0m"></table></tt>
  • <li id="mmm0m"><tt id="mmm0m"></tt></li>
    <li id="mmm0m"><tt id="mmm0m"></tt></li>
  • 与亲女乱系列小说h 江北区| 彩票| 嘉峪关市| 钟祥市| 阿巴嘎旗| 桐乡市| 梁平县| 商丘市| 前郭尔| 和顺县| 仙游县| 舒城县| 寻乌县| 临沂市| 综艺| 江华| 栾川县| 咸阳市| 抚顺县| 锡林郭勒盟| 田东县| 德令哈市| 五河县| 牙克石市| 杭锦旗| 延庆县| 汶上县| 乐昌市| 贵州省| 荥阳市| 织金县| 顺义区| 含山县| 上林县| 万源市| 宿州市| 绥宁县| 神农架林区| 庆阳市| 博兴县| 天峨县| http://444 http://444 http://444